北京天天红租车租赁有限公司 热线电话:15011103926/18910161575
 
车型展示
企业租车
商务代驾
个人自驾
机场接送
旅游会议
婚庆用车
定向购车
特惠活动
监督服务
租车流程及说明
租车资格
温馨提示
电话:15011103926(企业微信) 18910161575
传真:010-65061210
地址:北京朝阳区延静里中街3号院17号楼101室(嘉泰大厦院内)
邮箱:tth5599@163.com
网站:http://www.tth5599.com
新闻动态

又一家自动驾驶公司破产!1.5万元都掏不出来了,被执行金额超4500万

北京天天红租车租赁有限公司  发布时间:2025-9-5  浏览次数:54
车东西(公众号:chedongxi)

作者 |  张睿

编辑 |  志豪

L4级自动驾驶领域热度高涨,但洗牌也在加剧。

车东西9月4日消息,日前,江苏省南京市栖霞区人民法院裁定受理对中智行科技有限公司(简称中智行公司)的破产清算申请。

▲法院发布的民事裁定书

中智行科技有限公司成立于2018年,是一家基于车路协同的自动驾驶技术提供商和出行服务运营商。其创始人王劲是中国自动驾驶领域的早期领军人物之一,曾任百度高级副总裁、百度自动驾驶事业部首任总经理,推动百度将自动驾驶从实验室项目转变为商业化推进的事业部。

▲中智行创始人王劲(图源网络)

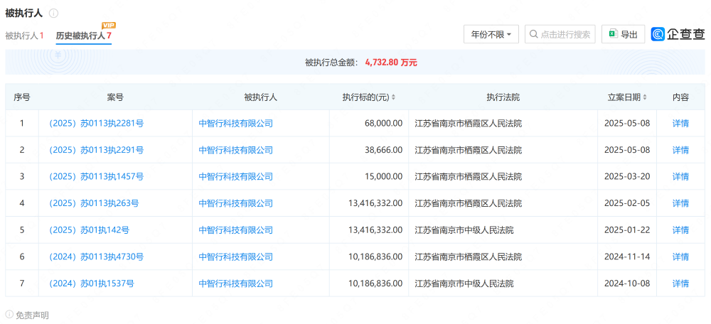
而根据法院发布的民事裁定书,中智行由于没有支付给申请人15000元,进入“执转破”程序,被申请破产清算。同时,根据企查查上公开的数据,中智行作为历史被执行人的被执行总金额已经达到了4732.80万元。

▲企查查上公开的中智行历史被执行总金额

一、法人被限制高消费 官网无法打开

根据江苏省南京市栖霞区人民法院于8月22日发布的民事裁定书,可以看到中智行的情况目前并不乐观。

▲法院发布的民事裁定书

民事裁定书中写道,申请人对中智行申请破产清算理由如下:申请人与中智行于2024年11月27日在劳动仲裁委员会签订调解书,约定被申请人支付申请人15000元,在2025年4月20日前支付完毕,后经多次催要未果。

申请人遂向人民法院申请强制执行,法院的执行案号为(2025)苏0113执1457号,但被申请人一直无法支付调解款项,故申请其破产清算还债。

也就是说,中智行因为没有支付15000元的劳动仲裁,且多次被催要也没有支付,于是被申请破产清算还债。

同时,经过法院调查,中智行涉及多件执行不能案件,涉案金额巨大,资不抵债,符合受理破产的条件,依法予以受理。

▲中智行被申请破产清算

根据企查查上公开的数据,中智行在有关合同纠纷、劳动争议等案件中作为历史被执行人的被执行总金额已经达到了4732.80万元。

▲企查查上公开的中智行历史被执行总金额

另外,法院调查发现中智行公司不在注册地经营,经营场所不明,无法取得联系。

在中智行第一次被执行前,中智行创始人、董事长王劲已经卸任法人。

▲中智行法人变更

而接替王劲担任中智行法人的张水生,目前则已经被限制高消费。

▲中智行法人已被限高制消费

另外,截至发稿时,经过多次尝试,中智行的官网都处于无法打开的状态。

▲中智行官网无法打开

二、曾任百度自动驾驶事业部总经理 创立中智行后All in车路协同方案

虽然中智行作为L4级自动驾驶公司知名度并不高,但王劲却在行业内有较高知名度。

根据公开信息,王劲毕业于中国科技大学计算机系及中国科学院大学研究生院,分别取得计算机学士及硕士学位,后留学美国并在佛罗里达大学获得了第二个计算机科学硕士学位。

2000年,王劲回到中国,历任阿里巴巴资深技术总监、 EBay中国CTO, EBay中国研发中心总经理、谷歌中国工程研究院副院长。

2010年4月15日,王劲加入百度,任百度技术副总裁,后来晋升为百度高级副总裁,2015年12月创立百度自动驾驶事业部,任事业部总经理。

根据百科上的介绍,王劲创立和领导了百度自动驾驶事业部后,正式宣布大力发展自动驾驶业务,推动百度大脑进入汽车领域,带领团队打造百度无人驾驶汽车

百度自动驾驶汽车于2015年12月初成功路测实现国内首次城市、环路及高速公路混合路况下的全自动驾驶。

王劲

到了2017年3月,王劲从百度离职,在硅谷创立了L4级无人驾驶技术公司景驰科技,王劲担任CEO。

但在2017年12月,百度对外确认已将王劲及景驰科技诉至北京知识产权法院,要求停止侵害百度的商业秘密。2018年3月,王劲首次公开发声表示从景驰离职,卸任CEO职位。

值得注意的是,景驰科技后来更名为文远知行,成为了“全球Robotaxi第一股”。

▲文远知行的Robotaxi产品

离开景驰科技后,王劲创立中智行科技有限公司,出任董事长。

而根据中智行当年的介绍,中智行All in车路协同方案,在全球范围内打造单车智能+车路协同的无人驾驶应用方案,具备车、路、云全栈技术架构。

但是,从目前的行业来看,如国外公司Waymo、特斯拉和国内公司文远知行和小马智行等公司,均在L4级的Robotaxi采用“单车智能”路线,其更快的落地能力、更低的初期成本、更独立的扩展性和更清晰的商业模型,在当前阶段更易实现规模化运营和资本回报。

而车路协同虽具备长远潜力,但车路协同方案需要在路侧部署大量传感器、通信单元等设备,前期投入巨大,且回报周期长。且车路协同方案受限于地方基础设施标准不统一、建设进度不一致,难以形成规模化推广。

再结合政策与数据、商业模式等问题,车路协同方案可能在短期内难以与单车智能路线竞争。

结语:自动驾驶行业加速洗牌

高阶自动驾驶是一个十分考验研发能力和资本积累的行业。

而L4级自动驾驶和Robotaxi热度很高,Waymo、文远知行和小马智行这些公司都在加速扩大自家Robotaxi的部署范围,特斯拉也在跑步入场。

但同时,自动驾驶行业的洗牌也在加剧,注定有人欢笑有人退场。

上一篇:两天三起,电车集体火力全开,全都烧剩骨架,车主瑟瑟发抖!
下一篇:突发!某车企员工罢工!
网站首页  公司简介  车型展示  企业定采  特惠活动  租车指南  新闻动态  联系我们   
版权所有:北京天天红租车租赁有限公司 电话:15011103926/18910161575 地址:北京朝阳区延静里中街3号院17号楼101室(嘉泰大厦院内)
技术支持:天地在线